Road Fence T1
Mobiles Barrieresystem für Fuß- und Radwege in urbanen Verkehrsnetzen.

Maximale Sicherheit für Fuß- und Radwege im städtischen Bereich
Unsere mobilen Barriere- und Schutzwandsysteme aus Beton mit stabilen Stahlkomponenten definieren größtmögliche Sicherheit im urbanen Einsatz neu: In engen Baustellenbereichen, für ein ungefährdetes Arbeiten sowie zum Schutz des Individualverkehrs und der Anwohner in der Stadt.
Modular einsetzbar, dabei werkzeugfrei, schnell und einfach montiert, sorgt der Road Fence T1 als Aufhaltestufe T1 für bestmögliche Sicherheit von Fußgängern, Radfahrern und motorisiertem Verkehr in urbanen Baustellenbereichen. Das mobile Barrieresystem aus Stahl und Beton ist als Einheit inklusive Handlauf erfolgreich gemäß DIN EN 1317 zur Verkehrsraumtrennung getestet. Durch die Elementlängen von 1,45 und 2,85 Meter passt sich der Road Fence T1 flexibel jeder Baustellengeometrie an und bietet dabei höchste Sicherheit.
Mit einem Eigengewicht von 435 Kilogramm pro Element muss das Barrieresystem nicht im Boden verankert werden. Der fest im Fuß verankerte Handlauf verhindert das Übersteigen und Eindringen von Unbefugten in den Verkehrsoder Baustellenbereich. Erweitert um drei unterschiedlich hohe Zaunelemente von bis zu 2,35 Meter Höhe lassen sich Baustellenbereiche auch komplett umschließen.
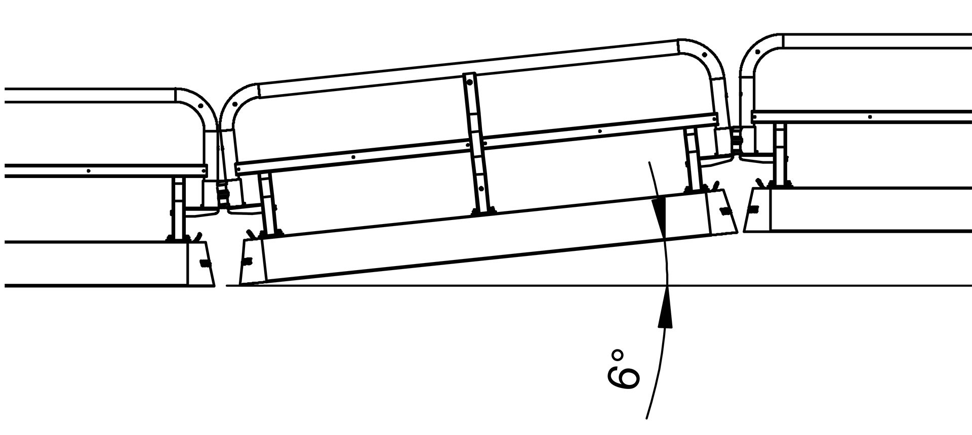
Roadfence T1 kann im innerstädtischen Bereichen an beliebigen Stellen zur sicheren Abtrennung von Fuß-und Radwegen in Baumaßnahmen eingesetzt werden. Der Road Fence passt sich jeder Bodenbeschaffenheit flexibel an und gleicht Neigungen von +/- 6° im Baustellenbereich aus. Mit einem Bewegungsradius von 105° passen sich die Elemente jeder Baustellengeometrie perfekt an.


Technische Daten
| Aufhaltestufe |
T1 (geprüft mit 80km/h) |
| Wirkungsbereich |
W6 |
| ASI-Wert |
A |
| Baubreite |
0,30m |
| Höhe |
1,10m |
| Elementlänge |
1,45 m / 2,85 m |
| Mindestaufstelllänge |
72m |
| Bodenverankerung |
Nein |
| Gewicht pro Element |
435kg |

Der Road Fence passt sich jeder Bodenbeschaffenheit flexibel an und gleicht Neigungen von +/- 6° im Baustellenbereich aus.

Mit einem Bewegungsradius von 105° passen sich die Elemente jeder Baustellengeometrie perfekt an.
Mehr Sicherheit für Menschen mit eingeschränkter Mobilität und Sehbehinderung
Mobilitätseingeschränkte und sehbehinderte Menschen sind mit Unterstützung von Geh- und Orientierungshilfen in der Lage, selbstständig am öffentlichen Straßenverkehr teilzunehmen. Treffen Sie auf abgesicherte Baustellen im Fußgängerbereich, ist es notwendig, das Unfallrisiko durch Sicherheitsvorkehrungen so weit wie möglich auszuschließen.
Im Vergleich zu anderen Barrieresystemen und Absperrschrankengittern mit Fußplatten erfüllt der Road Fence T1 die Anforderungen der RSA 21 für mehr Rücksicht auf sehbehinderte und mobilitätseingeschränkte Personen sowie für Kinder.
Durch den schmalen Fußbereich des Road Fence T1 mit einer Breite von nur 30 cm ist das Einrichten von breiten Behelfsrad- und gehwegen ohne Stolperkanten möglich. Der plan aufliegende Standfuß mit einer Höhe von 25 cm dient zusätzlich als durchgehende Tastleiste für sehbehinderte Menschen und erlaubt ein sicheres Passieren des Baustellenbereichs – selbst bei gepflasterten Untergründen.

Vielseitig erweiterbar
Schwenkbar bis 105°
Die schwenkbaren Schutzelemente passen sich Verschwenkungen im Straßenverlauf flexibel an und gleichen auch Bodenunebenheiten problemlos aus. Eine Aufstellung der Elemente ist im Winkel von bis zu 105° in der horizontalen Ebene und bis zu 6° in der vertikalen Ebene möglich.

Reflektoren und Sichtzeichen
Die zum Straßenverkehr gerichtete Seite des Road Fence T1 kann mit Reflektoren und Sichtzeichen der Größe 50 %, 75 % und in der Regelgröße einer Bake ausgestattet werden und bietet so mehr sicheren Raum für die Verkehrsteilnehmer.

Warnleuchten WL8
Für den Road Fence T1 haben wir spezielle Lampenhalterungen konstruiert, damit die Rundstrahler außerhalb des Handlaufs angebracht werden können. Somit wird der Handlauf nicht unterbrochen und gewährleistet eine durchgängige Führung durch die Baustelle.

Werkzeugfreie Steckverbindung
Die innovative Steckverbindung ermöglicht eine schnelle und werkzeugfreie Montage. Der Road Fence T1 lässt sich auch problemlos mit dem SVEA Schutzwandsystem erweitern.

Road Fence T1 Produktflyer
Weitere Informationen Road Fence T1 finden Sie in unserem Produktflyer.
Download Produktflyer